The Alteration of Cognitive Function in Iron Overload Mice
Keywords:
Congitive function, Iron overload, Special experimental mazeAbstract
Regular blood transfusions is a lifetime treatment for blood disorder such as thalassemia and it can lead to the iron accumulation within the organs. Iron accumulation in the brain can cause toxicity by increasing reactive oxygen species (ROS) and altering apoptotic signal. However, the impact of the iron overload in cognitive function is still unclear. The purpose of this study is to investigate the effects of iron overload to the cognitive function of mice. Three groups of mice were divided into three groups with different dosing of iron injections (0, 0.1, and 0.3 mg/mice). Iron was injected intraperitoneally for 19 days. A special experimental maze was used to assess the cognitive function. The test was repeated three times; before injection, the 6th day of injection, and the 11th day of injection. After 19 days of injections, brain weight was measured and brain histology examined. Our results showed that cognitive function was impaired after iron injections. Cognitive function test indicated that the time required by group 1 during the first test were 265.20 ± 47.11 seconds, during the second test were 123.20 ± 18.33 seconds, and during the third test were 151 ± 45.80 seconds. Next, the time required by group 2 during the first test were 254.60 ± 44.16 seconds, during the second test were 176,60 ± 32.54 seconds, and during the third test were 259.60 ± 63.28 seconds. Then, the time required by group 3 during the first test were 260.20 ± 44.90 seconds, during the second test were 241.20 ± 32.65 seconds, and 272.40 ± 65.79 seconds during the third test. The data analysis indicated insignificant changes between group 1, group 2, and group 3 with p-value 0.068. There were no significant changes in brain weight and brain histology among all groups. We conclude that iron overload can cause alteration of mice cognitive function without change in brain histologyReferences
J. J. Nagelhout And K. Plaus, Handbook Of Anesthesia. Maryland City: Elsevier Health Sciences, 2013, Pp. 131.
S. A. Sir, S. Gopalan, And P. Kumar, Obstetrics and Gynecology for Postgraduates. New Delhi: Universities Press, 2009, Pp. 159.
S. Hussain, J. R. Gollan, And R. C. Semelka, Liver Mri: Correlation with Other Imaging Modalities and Histopathology. Omaha: Springer Science & Business Media, 2007, Pp 180-181.
Merono T, Gomez L, Sorroche P, Boero L, Arbelbide J, Brites F. High Risk of Cardiovascular Disease In Iron Overload Patients. European Journal of Clinical Investigation.2011; 41(5): Pp.479-86.
E. Whitney and S. R. Rolfes, Understanding Nutrition, 12th Ed. Belmont: Wadsworth, 2011, Pp. 425-431.
White AR, Kanninen KM, Crouch PJ. Metals and Neurodegeneration: Restoring the Balance. Front Aging Neurosci. 2013; 5(34): pp.15–6.
Blasco G, Puig J, Daunis-i-Estadella J, Molina X, Xifra G, Fernandez-Aranda F, et al. Brain Iron Overload, Insulin Resistance and Cognitive Performance in Obese Subjects: A Preliminary MRI Case-Control Study. Diabetes Care. 2014; 37: pp1–8.
Tucker DM, Sandstead HH, Penland JG, Dawson SL, Milne DB. Iron status and brain function: serum ferritin levels associated with asymmetries of cortical electrophysiology and cognitive perlormance. Am J Clin Nutr. 1984; 39: pp105–13.
Charan J, Biswas T. How to Calculate Sample Size for Different Study Designs in Medical Research? Indian J Psychol Med. 2013;35(2): pp121–6.
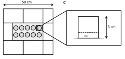
Labots M, Van Lith HA, Ohl F, Arndt SS. (2015, Apr). The Modified Hole Board - Measuring Behavior, Cognition, and Social Interaction in Mice and Rats. J Vis Exp [Online]. Available: www.jove.com/video/52529
HARE D, AYTON S, BUSH A, LEI P. A DELICATE BALANCE: IRON METABOLISM AND DISEASES OF THE BRAIN. FRONT AGING NEUROSCI. 2015; 5(34): PP7–25
Downloads
Additional Files
Published
Issue
Section
License
JBCS Publication Ethics
JBCS is committed to ensure the publication process follows specific academic ethics. Hence, Authors, Reviewers and Editors are required to conform to standards of ethical guidelines.
Authors
Authors should discuss objectively the significance of research work, technical detail and relevant references to enable others to replicate the experiments. JBCS do not accept fraudulent or inaccurate statements that may constitute towards unethical conduct.
Authors should ensure the originality of their works. In cases where the work and/or words of others have been used, appropriate acknowledgements should be made. JBCS do not accept plagiarism in all forms that constitute towards unethical publishing of an article.
This includes simultaneous submission of the same manuscript to more than one journal. Corresponding author is responsible for the full consensus of all co-authors in approving the final version of the paper and its submission for publication.
Reviewers
Reviewers of JBCS treat manuscripts received for review as confidential documents. Therefore, Reviewers must ensure the confidentiality and should not use privileged information and/or ideas obtained through peer review for personal advantage.
Reviews should be conducted based on academic merit and observations should be formulated clearly with supporting arguments. In cases where selected Reviewer feels unqualified to review a manuscript, Reviewer should notify the editor and excuse himself from the review process in TWO (2) weeks time from the review offer is made.
In any reasonable circumstances, Reviewers should not consider to evaluate manuscripts if they have conflicts of interest (i.e: competitive, collaborative and/or other connections with any of the authors, companies, or institutions affiliated to the papers).
Editors
Editors should evaluate manuscripts exclusively based on their academic merit. JBCS strictly do not allow editors to use unpublished information of authors without the written consent of the author. Editors are required to take appropriate responsive actions if ethical complaints have been presented concerning a submitted manuscript or published paper.
CONFLICT OF INTEREST
Journal of Biomedical and Clinical Sciences requires authors to declare all competing interests in relation to their work. All submitted manuscripts must include a ‘competing interests section at the end of the manuscript listing all competing interests (financial and non-financial). Where authors have no competing interests, the statement should read ,The authors have declared that no competing interests exist. Editors may ask for further information relating to competing interests.
Editors and reviewers are also required to declare any competing interests and will be excluded from the peer review process if a competing interest exists. Competing interests may be financial or non-financial. A competing interest exists when the authors interpretation of data or presentation of information may be influenced by their personal or financial relationship with other people or organizations. Authors should disclose any financial competing interests but also any non-financial competing interests that may cause them embarrassment if they were to become public after the publication of the article.
HUMAN AND ANIMAL RIGHTS
All research must have been carried out within an appropriate ethical framework. If there is suspicion that work has not taken place within an appropriate ethical framework, Editors will follow the Misconduct policy and may reject the manuscript, and/or contact the author(s) institution or ethics committee. On rare occasions, if the Editor has serious concerns about the ethics of a study, the manuscript may be rejected on ethical grounds, even if approval from an ethics committee has been obtained.
Research involving human subjects, human material, or human data, must have been performed in accordance with the Declaration of Helsinki and must have been approved by an appropriate ethics committee. A statement detailing this, including the name of the ethics committee and the reference number where appropriate, must appear in all manuscripts reporting such research. Further information and documentation to support this should be made available to Editors on request.
Experimental research on vertebrates or any regulated invertebrates must comply with institutional, national, or international guidelines, and where available should have been approved by an appropriate ethics committee. The Basel Declaration outlines fundamental principles to adhere to when conducting research in animals and the International Council for Laboratory Animal Science (ICLAS) has also published ethical guidelines.
A statement detailing compliance with relevant guidelines (e.g. the revised Animals (Scientific Procedures) Act 1986 in the UK and Directive 2010/63/EU in Europe) and/or ethical approval (including the name of the ethics committee and the reference number where appropriate) must be included in the manuscript. The Editor will take account of animal welfare issues and reserves the right to reject a manuscript, especially if the research involves protocols that are inconsistent with commonly accepted norms of animal research. In rare cases, Editors may contact the ethics committee for further information.
INFORMED CONSENT
For all research involving human subjects, informed consent to participate in the study should be obtained from participants (or their parent or guardian in the case of children under 16) and a statement to this effect should appear in the manuscript, this includes to all manuscripts that include details, images, or videos relating to individual participants.
DATA SHARING POLICY
JBCS strongly encourages that all datasets on which the conclusions of the paper rely should be available to readers. We encourage authors to ensure that their datasets are either deposited in publicly available repositories (where available and appropriate) or presented in the main manuscript or additional supporting files, in machine-readable format (such as spreadsheets rather than PDFs) whenever possible
Authors who do not wish to share their data must state that data will not be shared, and give the reason.
COPYRIGHT NOTICE
The JBCS retains the copyright of published manuscripts under the terms of the Copyright Transfer Agreement. However, the journal permits unrestricted use, distribution, and reproduction in any medium, provided permission to reuse, distribute and reproduce is obtained from the Journal's Editor and the original work is properly cited.
While the advice and information in this journal are believed to be true and accurate on the date of its going to press, neither the authors, the editors, nor the publisher can accept any legal responsibility for any errors or omissions that may be made. The publisher makes no warranty, express or implied, with respect to the material contained herein.
Copyright (c) 2023 Journal of Biomedical and Clinical Sciences (JBCS)
This work is licensed under a Creative Commons Attribution-NonCommercial-NoDerivatives 4.0 International License.





